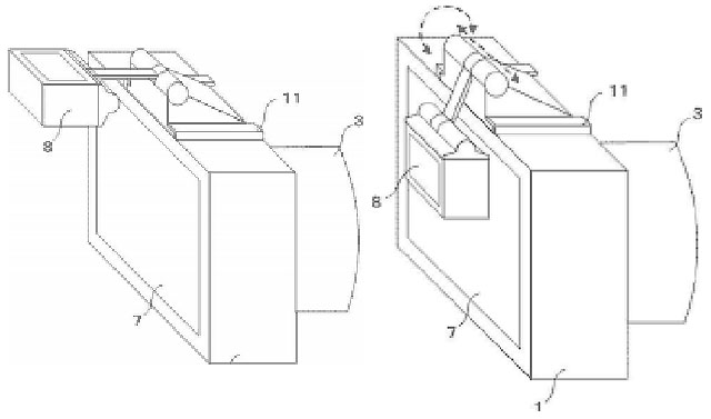
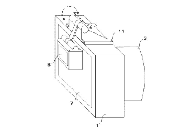
Недавно опубликованный патент показывает видоискатель, который по сути является прямоугольным увеличительным стеклом, которое помещается поверх ЖК-дисплея. Та часть дисплея, которая оказывается под этим «видоискателем», начинает отображать полный кадр, «информацию для видоискателя».
.jpg)
Получается своеобразный бюджетный электронный видоискатель. Вместо того, чтобы встраивать два отдельных дисплея в камеру – один большой ЖКИ на задней панели и один маленький внутри ЭВИ – идея Canon позволит использовать ЖК-дисплей для обеих целей. Камера получится существенно дешевле, а фотолюбители смогут выбирать – либо использовать полный дисплей, либо смотреть в «окуляр видоискателя», что может оказаться предпочтительнее на ярком солнце, когда картинка на большом дисплее читается плохо.
Когда «видоискатель» оказывается в рабочем положении (поверх дисплея), камера распознает эту ситуацию, автоматически переключает режим отображения и начинает показывать содержимое полного экрана внутри того прямоугольника, который попадает под увеличительное стекло.
.jpg)
Целесообразность такого подхода будет возрастать по мере того, как будет увеличиваться разрешение ЖК-дисплея.
