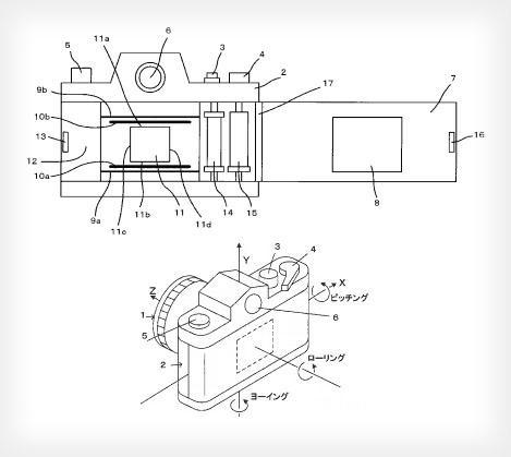
По появившейся в сети информации о поданной патентной заявке от компании Nikon, можно предположить, что в компании попытаются реализовать идею о превращении пленочных камер в цифровые. Такие технолологии давно существуют для среднеформатных камер, но вот для 35-мм камер пока нет готового решения. Ранее компания Leica создавала систему Digital Module R для пленочных камер R8 и R9, но этот проект был закрыт в 2007 году.

Из патентной заявки, которая стала доступна совсем недавно, а создавалась в 2011 году, стало известно о разработках, связанных с заменой задней крышки старых зеркальных камер. Предположительно, речь может идти о создании прототипа недорогих цифровых задников, которые могут применяться на 35-мм фотоаппаратах.

По сути, концепт напоминает первую цифровую камеру, которая была представлена: Kodak DCS 100 фактически был переделанной камерой Nikon F3, с установленным сенсором.
По материалам Petapixel.com
